• 无障碍
  • 长辈版
宣州区发展和改革委员会
您现在所在的位置: 网站首页> 政府信息公开首页 > 宣州区发改委> 权责清单和动态调整情况
索引号: 11341703003250152U/202409-00026 组配分类: 权责清单和动态调整情况
发布机构: 宣州区发展和改革委员会 主题分类: 综合政务 / 公民
名称: 区发改委行政许可分表及流程图(2023年本) 文号:
生成日期: 2024-09-19 发布日期: 2024-09-19
索引号: 11341703003250152U/202409-00026
组配分类: 权责清单和动态调整情况
发布机构: 宣州区发展和改革委员会
主题分类: 综合政务 / 公民
名称: 区发改委行政许可分表及流程图(2023年本)
文号:
生成日期: 2024-09-19
发布日期: 2024-09-19
区发改委行政许可分表及流程图(2023年本)
发布时间:2024-09-19 17:35 来源:宣州区发展和改革委员会 浏览次数: 字体:[ ]

序号 权力类型 项目名称 实施依据 责任事项 追责情形
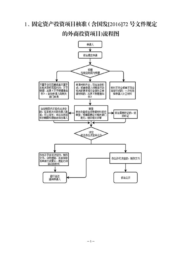
1 行政许可 固定资产投资项目核准(含国发〔2016〕72号文件规定的外商投资项目) 1.《企业投资项目核准和备案管理条例》第三条 对关系国家安全、涉及全国重大生产力布局、战略性资源开发和重大公共利益等项目,实行核准管理。具体项目范围以及核准机关、核准权限依照政府核准的投资项目目录执行。
2.《国务院关于发布政府核准的投资项目目录(2016年本)的通知》(国发〔2016〕72号)全文                                                                   3.《安徽省人民政府关于发布安徽省地方政府核准的投资项目目录(2016年本)的通知》(皖政〔2017〕49号)全文
4.《安徽省人民政府关于赋予乡镇街道部分县级审批执法权限的决定》(皖政〔2022〕112号)。
1.受理阶段责任:在办公场所公示依法应当提交的材料;一次性告知补正材料;依法受理或不予受理书面凭证(不予受理应当告知理由)。
2.审查阶段责任:材料审核(包括自然规划、环保、节能、移民、农业等有关部门出具的意见书);组织专家评审。
3.决定阶段责任:作出决定(不予行政许可的应当告知理由);按时办结。
4.送达阶段责任:制发送达文书;信息公开。
5.事后监督责任:加强项目稽察和监管。
6.其他法律法规政策规定应承担的责任。
因不履行或不正确履行行政职责,有下列情形的,行政机关及相关工作人员应承担相应责任:
1.对符合法定条件的项目申请不予受理、核准的;
2.对不符合法定条件的项目予以受理、核准的;
3.擅自增设、变更项目核准程序或核准条件的;
4.未在法定时限内作出核准决定的;
5. 在项目监管中滥用职权、玩忽职守,造成较大损失的;
6.索取或者收受他人财物或者谋取其他利益的;
7.其他违反法律法规政策规定的行为。
2 行政许可 固定资产投资项目节能审查 1.《中华人民共和国节约能源法》第十五条:国家实行固定资产投资项目节能评估和审查制度。不符合强制性节能标准的项目,建设单位不得开工建设;已经建成的,不得投入生产、使用。政府投资项目不符合强制性节能标准的,依法负责项目审批的机关不得批准建设。具体办法由国务院管理节能工作的部门会同国务院有关部门制定。
2.《固定资产投资项目节能审查办法》(国家发展改革委令2016年第44号)第二条:本办法适用于各级人民政府投资主管部门管理的在我国境内建设的固定资产投资项目。本办法所称节能审查,是指根据节能法律法规、政策标准等,对项目节能情况进行审查并形成审查意见的行为。第三条:固定资产投资项目节能审查意见是项目开工建设、竣工验收和运营管理的重要依据。……企业投资项目,建设单位需在开工建设前取得节能审查机关出具的节能审查意见。未按本办法规定进行节能审查,或节能审查未通过的项目,建设单位不得开工建设,已经建成的不得投入生产、使用。第五条:固定资产投资项目节能审查由地方节能审查机关负责。……国家发展改革委核报国务院核准以及国家发展改革委核准的企业投资项目,建设单位需在开工建设前取得省级节能审查机关出具的节能审查意见。年综合能源消费量5000吨标准煤以上(改扩建项目按照建成投产后年综合能源消费增量计算,电力折算系数按当量值,下同)的固定资产投资项目,其节能审查由省级节能审查机关负责。其他固定资产投资项目,其节能审查管理权限由省级节能审查机关依据实际情况自行决定。第六条:年综合能源消费量不满1000吨标准煤,且年电力消费量不满500万千瓦时的固定资产投资项目,以及用能工艺简单、节能潜力小的行业(具体行业目录由国家发展改革委制定并公布)的固定资产投资项目应按照相关节能标准、规范建设,不再单独进行节能审查。
3.《安徽省发展改革委关于印发安徽省固定资产投资项目节能审查实施办法(暂行)的通知》(皖发改环资规〔2021〕8号)第五条  国家发展改革委核报国务院审批或核准,国家发展改革委审批或核准的固定资产投资项目,以及年综合能源消费量5000吨标准煤以上(改扩建项目按照建成投产后年综合能源消费增量计算,电力折算系数按当量值,下同)的固定资产投资项目,其节能审查由省发展改革委或委托市级节能审查机关实施。省级权限节能审查项目中,建设地点位于中国(安徽)自由贸易试验区合肥片区、芜湖片区、蚌埠片区的,由自贸区节能审查机关依法承接实施节能审查,并在出具节能审查意见后10日内,向省发展改革委报备。其他固定资产投资项目,其节能审查管理权限由市级节能审查机关依据实际情况自行决定。
1.受理阶段责任:在办公场所公示依法应当提交的材料。
2.审查阶段责任:对项目单位提供的节能评估报告进行审查;依法组织专家评审;提出预审意见。
3.决定阶段责任:作出行政许可或者不予行政许可决定;按时办结。
4.送达阶段责任:制发送达文书;登记备案;信息公开。
5.事后监督责任:监督检查。
6.其他法律法规政策规定应承担的责任
因不履行或不正确履行行政职责,有下列情形的,行政机关及相关工作人员应承担相应责任:
1.对符合法定条件的项目申请不予受理、核准的;
2.对不符合法定条件的项目予以受理、核准的;
3.擅自增设、变更项目审批程序或审批条件的;
4.未在法定时限内作出审批决定的;
5. 在项目监管中滥用职权、玩忽职守,造成较大损失的;
6.索取或者收受他人财物或者谋取其他利益的;
7.其他违反法律法规政策规定的行为。
3 行政许可 新建不能满足管道保护要求的石油天然气管道防护方案审批 《中华人民共和国石油天然气管道保护法》第十三条 管道建设的选线应当避开地震活动断层和容易发生洪灾、地质灾害的区域,与建筑物、构筑物、铁路、公路、航道、港口、市政设施、军事设施、电缆、光缆等保持本法和有关法律、行政法规以及国家技术规范的强制性要求规定的保护距离。
新建管道通过的区域受地理条件限制,不能满足前款规定的管道保护要求的,管道企业应当提出防护方案,经管道保护方面的专家评审论证,并经管道所在地县级以上地方人民政府主管管道保护工作的部门批准后,方可建设。
1.受理责任:在办公场所公示依法应当提交的材料;一次性告知补正材料;依法受理或不予受理(不予受理应当告知理由)。
2.审查责任:对项目单位提供的管道防护方案进行审查;依法组织专家评审;提出预审意见。
3.决定责任:作出行政许可或者不予行政许可决定(不予行政许可的应当告知理由);按时办结。
4.送达责任:制发送达文书;登记备案;信息公开。
5.事后监督责任:监督检查。
6.其他法律法规政策规定应承担的责任。
因不履行或不正确履行行政职责,有下列情形的,行政机关及相关工作人员应承担相应责任:
1.应当受理而不予受理,或者应当不予受理而受理的;
2.明知不符合有关法律法规或技术要求的项目而予以批准的;
3.擅自增设变更审批程序或审批条件的;
4.未在法定时限内作出审查决定的;
5.擅自变更、延续、撤销已审查项目的;
6.在方案审查中失职渎职,造成重大损失的;
7.收受贿赂或者获取其他利益为他人谋取不正当利益提供方便的;
8.其他违反法律法规政策规定的行为。
4 行政许可 可能影响石油天然气管道保护的施工作业审批 《中华人民共和国石油天然气管道保护法》第三十五条 进行下列施工作业,施工单位应当向管道所在地县级人民政府主管管道保护工作的部门提出申请:
(一)穿跨越管道的施工作业;
(二)在管道线路中心线两侧各五米至五十米和本法第五十八条第一项所列管道附属设施周边一百米地域范围内,新建、改建、扩建铁路、公路、河渠,架设电力线路,埋设地下电缆、光缆,设置安全接地体、避雷接地体;
(三)在管道线路中心线两侧各二百米和本法第五十八条第一项所列管道附属设施周边五百米地域范围内,进行爆破、地震法勘探或者工程挖掘、工程钻探、采矿。
县级人民政府主管管道保护工作的部门接到申请后,应当组织施工单位与管道企业协商确定施工作业方案,并签订安全防护协议;协商不成的,主管管道保护工作的部门应当组织进行安全评审,作出是否批准作业的决定。
1.立案责任:依法制发立案文书;依法受理或不予受理(不予受理应当告知理由)。
2.调查责任:依法进行勘验(查)、鉴定、询问、保存证据;依法调查(检查)和收集证据。
3.决定责任:依法作出行政处罚决定并履行法定告知义务。
4.送达责任:制发文书并送达被处罚人、利害关系人(举报人)或有关单位;信息公开;告知救济渠道和时限。
6.其他法律法规规章文件规定应履行的责任。
因不履行或不正确履行行政职责,有下列情形的,行政机关及相关工作人员应承担相应责任:1.对符合条件不予受理或不按时受理企业申请材料的;2.为不符合规定的申请出具许可文件的;3、违反规定的条件、程序实施批准行为的4、受理、审查、办理过程中滥用职权、玩忽职守的;5、受理、审查、办理过程中故意刁难办事人员,或者索取好处,收受贿赂的;6、其他违反法律法规规章文件规定的行为。 
5 行政许可 应建防空地下室的民用建筑项目报建审批 1.《中华人民共和国人民防空法》第二十二条:城市新建民用建筑,按照国家有关规定修建战时可用于防空的地下室。
2.《安徽省实施<中华人民共和国人民防空法>办法》第十八条:城市和重要经济目标新建民用建筑,建设单位或者个人应当按照国家、省有关规定,修建防空地下室。任何单位和个人不得违反规定批准免建、少建防空地下室,不得降低防护标准。
3.《安徽省实施<中华人民共和国人民防空法>办法》第二十一条: 因地质、地形、结构、施工、规划管控等原因不宜修建防空地下室的,建设单位或者个人应当按规定缴纳人民防空工程易地建设费,由市或者县人民政府人民防空主管部门负责统一规划、就近易地修建。
人民防空工程易地建设费的收费标准由省人民政府发展改革、财政、人民防空主管部门根据设防城市防空地下室平均造价(不含土地成本)核定,并适时进行调整。
市、县人民政府人民防空主管部门应当公布人民防空工程易地建设费的缴纳条件、标准和减免项目。除国家规定的减免项目外,不得减免人民防空工程易地建设费。
4.《安徽省人民防空工程建设与维护管理规定》(安徽省人民政府令第286号)第十三条:有下列情况之一,不能按照规定修建防空地下室的,建设单位可以向市、县人民防空主管部门申请易地建设:(一)采用桩基且桩基承台顶面埋置深度小于三米或者不足规定的地下室空间净高的;(二)建在流砂、暗河、基岩埋深很浅等地段的项目,因地质条件不适于修建的;(三)因建设地段房屋或者地下管道设施密集,防空地下室不能施工或者难以采取措施保证施工安全的;(四)国家规定的其他情形。
1、受理阶段责任:公示城市规划区内新建民用建筑项目同步修建防空地下室和易地建设审批条件(《安徽省人民防空工程建设与维护管理规定》第十二条)、需要提交的全部材料目录以及其他应当公示的内容,并按申请人的要求进行相关解释说明。及时告知不予受理的决定及理由;一次性告知需要补正的申请材料全部内容。
2、审查阶段责任:在规定的时间内对申请材料(包括按照规定应提交的发改委建设项目立项批复或上级主管部门批复、规划局批准的规划设计总平面图、建筑施工图、结构图电子文本、防空地下室设计施工图的审图合格书)进行预审、提出预审意见。
3、决定阶段责任:作出准予行政许可或者不予行政许可决定,法定告知(不予许可的应当书面告知理由)。
4、送达阶段责任:准予许可的制作《安徽省民用建筑防空地下室建设意见书》,送达并信息公开。
5、事后监管责任。开展定期和不定期检查,对隐瞒有关情况、提供虚假材料申请同步修建或易地修建以及以欺骗、贿赂等不正当手段通过申请防空地下室建设意见书的,按照有关规定进行处罚。
6、其他法律法规政策规定应履行的责任。
因不履行或不正确履行职责,有下列情形的,行政机关及相关工作人员应承担相应责任:
1.对符合受理条件的申请不予受理的;
2.未严格按照相关政策、法律、法规履行审查义务;
3.工作人员滥用职权、徇私舞弊、玩忽职守的;
4.工作人员索贿、受贿,谋取不正当利益的;
5.其他违反法律法规规章文件规定的行为。
6 行政许可 拆除人民防空工程审批 1.《中华人民共和国人民防空法》第二十八条:任何组织或者个人不得擅自拆除本法第二十一条规定的人民防空工程;确需拆除的,必须报经人民防空主管部门批准,并由拆除单位负责补建或者补偿。
2.《安徽省实施〈中华人民共和国人民防空法〉办法》第二十九条:任何单位和个人不得擅自拆除人民防空工程;确需拆除的,应当报县级以上人民政府人民防空主管部门批准。拆除单位应当在限期内按照不少于原面积、不低于原防护等级的人民防空工程的标准补建或者予以补偿。
1.受理阶段责任:公示依法应当提交的材料;一次性告知补正;依法受理或不予受理(不予受理应当告知理由)。
2.审查阶段责任:材料审核。
3.决定阶段责任:作出决定,按时办结,法定告知。
4.其他法律法规及规章制度规定应履行的责任。
因不履行或不正确履行职责,有下列情形的,行政机关及相关工作人员应承担相应责任: 







Baidu
map